Improved Exfiltration Apparatus

Overview

The invention is an exfiltration apparatus that removes pollutants from runoff captured off the roadways. Pollutants may include oils, tire rubber, soil, metallic traces, nutrients, organic chemicals and compounds among others. Such materials lead to the clogging of filtering trenches by the roadside, a situation that worsens during the snow melt and heavy rains. The device construction consists of two main parts: a base and a removable top layer.

Perspecitve view of apparatus
Above: Perspective view of apparatus; base and top layer.
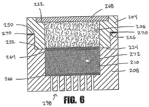
Cross section view of apparatus.
Above: Cross section view of apparatus.

The top portion contains the first filtering layer which removes the large suspended particles from the run-off and a metallic grate to protect it. The base has bottom and side portions that define the flow of the liquid, and a second filtering layer which filters the finer particles from the liquid. A geotextile material serves as a barrier between the two filtering layers, and between the second filtering layer and the drain. The filtration device is not attached to the road construction and can be easily removed for cleaning, enabling low maintenance. A variety of materials such as porous concrete, sand, porous asphalt, garnet, granular plastic, or activated carbon can be used for filtering.

Tech ID: 06031

Patent(s): 

US9017550B2

Inventors

Gayle F. Mitchell, Ph.D. Neil D Thomas Professor of Civil Engineering Emerita; Director Ohio Research Institute for Transportation and the Environment (ORITE)

Shad Sargand, Ph.D. Russ Professor of Civil Engineering